四年融资空窗后,Manner上市传闻再起_风闻
趣解商业-趣解商业官方账号-关注新科技、新消费,聚焦新模式、新商业 8小时前
作者 | 郝文
编辑 | 趣解商业资讯组
近日,据媒体报道,有知情人士透露,中国连锁咖啡品牌Manner Coffee考虑最早2026年在香港上市。这家咖啡连锁店已在与投资银行洽谈上市事宜,可能寻求筹集数亿美元资金,估值最高可达30亿美元。不过,相关讨论尚处于早期阶段,规模和时间等细节仍有可能发生变化。
对此,Manner Coffee方面表示,不予置评。

图片来源:微博截图
早在2021年,Manner Coffee就曾被传出要赴港上市的消息,彼时,Manner Coffee创始人韩玉龙曾直接回应称,公司无相关计划。
能够在资本市场持续获得关注,与Manner Coffee自身的经营实力及强劲的股东背景密不可分。
Manner Coffee于2015年在上海创立,定位为精品咖啡连锁品牌,品牌隶属于上海茵赫实业有限公司。Manner Coffee主打产品有拿铁咖啡、意式咖啡和浓缩咖啡,产品价格主要集中在15-25元。根据窄门餐眼,截至2025年11月20日,Manner Coffee在全国拥有2234家门店。
据“姚兰Yvonne”报道,有知情人士称:“Manner Coffee核心高管的对外说法是,品牌经营状况良好,去年净利润约为3亿元。”但Manner Coffee对这个消息不予置评。
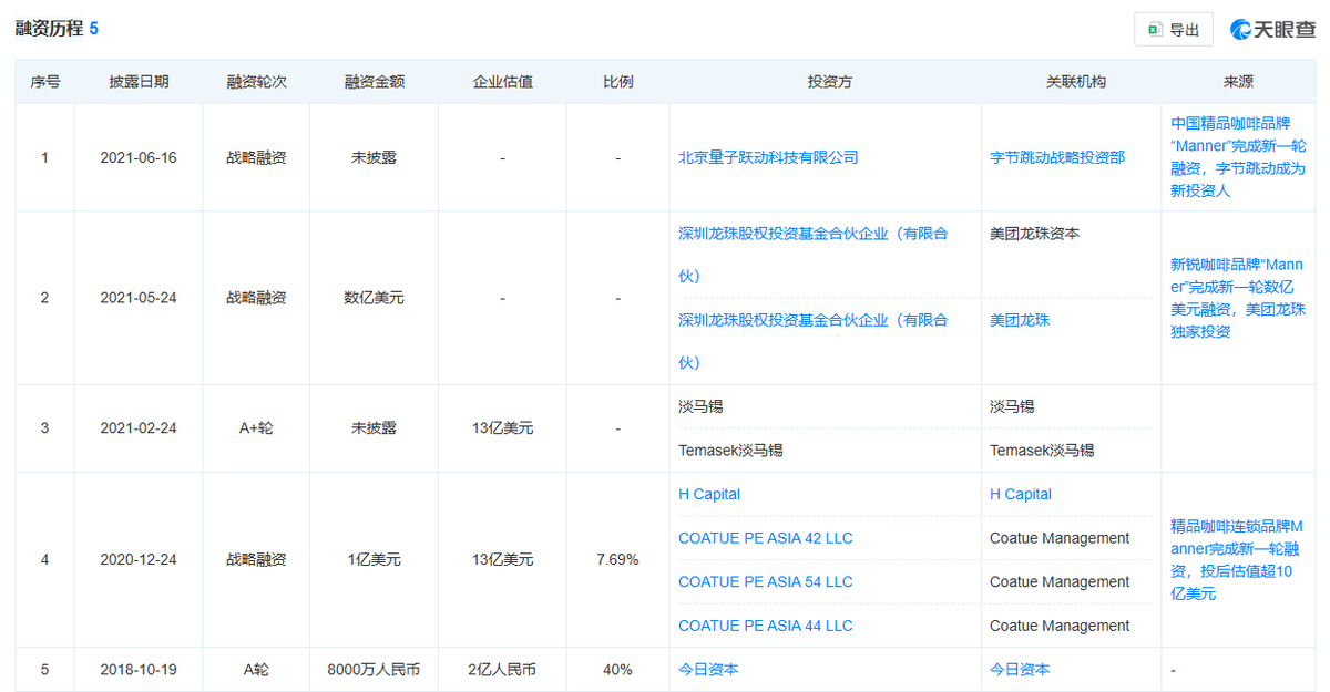
股东方面,天眼查显示,2018年10月-2021年6月,Manner Coffee曾获5轮融资,投资方包括H Capital、美团龙珠、字节跳动、淡马锡等。
不过,其最后一轮融资停在了2021年6月,此后再无新的融资进账。

图片来源:天眼查截图
有业内人士认为,Manner Coffee冲刺港股IPO,既有企业自身“补血续命”的迫切性,或许也隐含着早期投资人资本退出的用意。
今年2月,Manner Coffee向员工发放加盟意向调查问卷,似乎有意要放开加盟。针对此事,Manner Coffee的知情人士曾表示,仅内部调研,暂无开放加盟计划。目前Manner Coffee仍未放开加盟。
有观点认为,尽管近期尚无开放加盟的计划,但公司内部调研或透露出一些信号:Manner Coffee对加盟的态度或开始松动。
在咖啡品牌中,Manner Coffee的门店规模排名第六,第一至第五名分别为瑞幸、库迪、星巴克中国、幸运咖、挪瓦咖啡,不过Manner Coffee门店规模与前五名的差距不小。窄门餐眼显示,截至11月20日,瑞幸、库迪、星巴克中国、幸运咖、挪瓦咖啡的门店数分别为27930家、15323家、8382家、5784家、4252家。
而在前六的品牌里,仅有Manner Coffee和星巴克中国采用直营的形式,而星巴克中国在11月初也已经和博裕资本达成合作,预计将向后者出售至多60%股权,博裕资本入局后,将协助星巴克中国将门店开至2万家。
扩张步伐不停,Manner Coffee的内部管理也面临考验。
2024年6月,一位Manner Coffee咖啡师在工作时与顾客产生争执,将咖啡粉泼向了顾客。该事件曾引爆社会关注,将连锁咖啡行业劳资关系引入讨论中心。
今年2月,在社交平台上出现疑似Manner Coffee员工发帖,称2月中旬,本该发放的13薪年终奖存在“随机发放”“标准不明”等问题,部分门店员工未能获得。

图片来源:微博截图
一位于浙江的Manner Coffee咖啡师向“界面新闻”表示,每年的2月份是Manner Coffee给门店咖啡师发放13薪的时间,但今年只有部分咖啡师拿到这笔薪资;对于13薪发放的具体评定标准,公司则未予以公开正式说明。
有知情人士表示,今年确实有员工未拿到“13薪”。该人士表示,所谓的“13薪”为12个月工资之外的一薪奖金,有年终奖的作用,每年根据咖啡师的表现评估发放。影响咖啡师表现评估的因素包含咖啡师全年综合表现、收到的警告单次数等等。公司其实在上一年度也实行了这样的规则,针对有疑问的员工,Manner Coffee人事部门正与之通过内部系统进行沟通。
瑞幸正在推动上市进程,咖啡市场也进入更加惨烈的对决,在此关头,Manner Coffee加快扩张步伐或者选择赴港上市,是顺应时势的选择。但比速度更重要的,是发展质量。Manner Coffee需要锻造与扩张速度相匹配的管理内核,打造不逊于门店扩张速度的另一种核心竞争力。