削减成本的航空公司座位可能会将乘客堆叠在一起 - 彭博社
John Metcalfe
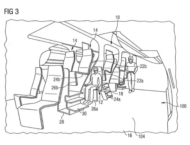
空客/欧洲专利局当你在飞行中,椒盐卷饼像雨一样落在你身上,鞋子像节拍器一样敲打着你的头时,怪 Stephan Sontag、Paul Edwards 和 Benedikt Kircher。他们被列为一项 空客专利申请 的发明人,涉及乘客像个该死的 大师爆破者 一样重叠坐着的座位安排。
该系统将有一个“安排在第一较低水平”的座位,以及“至少”一个其他座位在“高架水平”上。(“至少”这个词让人感到不安。)这两个座位都可以倾斜成床位,增强在一艘拥挤的星际运输船上前往殖民 霍格天体 的感觉。不过,如果你的楼上邻居很吵,这个位置让你可以敲打他们的座位并大喊:“上面小声点!”
该申请阐述了座位的理由:
在现代交通工具中,特别是在飞机上,从经济角度来看,充分利用客舱内可用空间是非常重要的。因此,客舱内尽可能多地安装乘客座位行,并尽可能减少它们之间的空间。为了更有效地利用宽体飞机客舱内的空间,美国专利 4,066,227 提出了在飞机客舱主甲板地板上设置一个高架甲板结构,以提供一个在飞机机身上部基本未使用的夹层座位区。
因为他们显然是施虐狂,发明者表示这个系统也可能在公交车和火车上实施(尽管印度在这方面远远领先于他们)。
彭博社城市实验室房地产开发商Naftali在迈阿密海滩寻找交易,借助佛罗里达的推动美国的驾驶和拥堵率比以往任何时候都高海牙是全球首个禁止石油和航空旅行广告的城市一种经济适用的游牧家居设计在适应城市生活方面面临挑战根据 每日电讯报,空客没有立即将双层座椅投入使用的计划。因此将这个方案归档为航空公司在我们抱怨太多时让生活变得不舒适的又一种方式,旁边是空客提议将座椅变成自行车鞍和波音的“直立睡眠支撑系统”将枕头压到你脸上的提案。


H/t Dezeen